Recensione MSI GX620 - Componentistica Hardware

Indice articoli

Componentistica Hardware:


Vediamo subito un riepilogo delle caratteristiche tecniche di questo notebook:


MSI GX-620

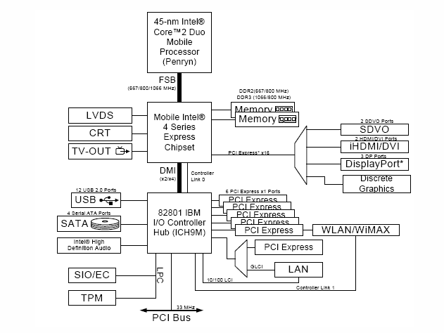
Processore

Intel Core2Duo P8600 Penryn 2.4GHz

Chipset

Intel®PM45+ICH9M

Ram

2x2 DDR2 800MHz cas 5

Scheda Video

Dedicata nVidia 9600m GT 512Mb (bus 128bit) 500/1250Mhz

Hard Disk

Western Digital 320GB SATA 5400RPM

Schermo

15.4" WSXGA+/WXGA ACV(Amazing Crystal Vision) Display

Drive Ottico

DVD Super Multi/ Blu-ray

Schede di Rete

Realtek RTL8168B/8111B Family PCI-E Gigabit Ethernet NIC (NDIS 6.0), Intel(R) Wireless WiFi Link 5100, Bluetooth 2.0 EDR

Audio

HD Audio, 2 altoparlanti, 1 microfono AI Array MIC

Espansioni

Lettore di schede di memoria 4-in-1 (SD/MMC/MS/MSpro), slot Expresscard

Porte

1 x VGA, 2 x USB, 1 x Mic-in, 1 x Line-in, 1 x cuffie, 1 x Line-out, 1 connettore RJ11 per modem, 1 connettore RJ45 per LAN, 1 slot PCMCIA, 1 x HDMI, 1x e-SATA

Altre Funzioni

WebCam da 2.0 MegaPixel

Sistema Operativo

Microsoft Windows Vista Home Premium

Dimensioni

358(L) X 260(D) X 27~31(H)mm

Peso

2.7Kg (con batteria a 6 celle)



Per eventuali dubbi sulle specifiche o per trovare gli ultimi driver e aggiornamenti, qui sotto trovate la pagina ufficiale sul sito della MSI:
http://global.msi.eu/index.php?func=proddesc&maincat_no=135&cat2_no=271&prod_no=1529

Corsair